0 руб
Оформить заказТермины и обозначения. При буквенных значениях, общих для червяка и колеса (d, da, M и др.), червяк отличается индексом 1, а колесо индексом 2.
Термины и обозначения приведены в табл. 126. Определение терминов см. ГОСТ 18498-89.
Характеристика передачи. Ведущим звеном обычно является червяк, а в ускоряющих передачах — колесо.
Основное достоинство передач — плавность и относительная бесшумность;
недостаток передач — низкий КПД.
Не рекомендуется, чтобы передаваемая мощность червячных передач превышала 60кВт. Преимущественно принимают передаточное число u = 10…80.
Смешение (корригирование) осуществляют у червяка и главным образом с целью получения стандартного межосевого расстояния; смещением удается варьировать числа зубьев колеса при одинаковом межосевом расстоянии с точностью ±2 единицы. Без смещения делительное межосевое расстояние передачи а = 0,5 (d1+ d2), т. е. делительные диаметры червяка и червячного колеса соприкасаются.
В червячных передачах необходимо предусматривать возможность регулирования при сборке положения колеса вдоль его оси для совмещения с осевой плоскостью червяка.
126. Термины и обозначения параметров червячных передач
Делительное межосевое расстояние червячной передачи – а
Межосевое расстояние - aw
Длина нарезанной части червяка – b1
Ширина венца червячного колеса – b2
Радиальный зазор червячной передачи - c
Средний диаметр червяка (червячного колеса) - d
Делительный диаметр червяка (червячного колеса) - d
Диаметр вершин витков червяка (зубьев червячного колеса) - da
Наибольший диаметр червячного колеса – dae2
Основной диаметр червяка - db
Диаметр впадин червяка (червячного колеса) - df
Начальный диаметр червяка (червячного колеса) - dw
Диаметр измерительного ролика - D
Высота витка – h1
Высота зуба червячного колеса – h2
Высота делительной головки витка – ha1
Высота до хорды витка - 
Высота начальной головки витка - 
Высота делительной головки зуба червячного колеса – ha2
Высота до хорды зуба червячного колеса - 
Высота начальной головки зуба колеса - 
Глубина захода червячной передачи - hw
Высота делительной ножки витка – hf1
Высота делительной ножки зуба червячного колеса – hf2
Граничная высота витка – hl1
Граничная высота зуба червячного колеса – hl2
Расчетный модуль червяка (червячного колеса) - m
Размер червяка по роликам – M1
Расчетный шаг червяка - p
Расчетный шаг зубьев червячного колеса - p
Ход витка – pz1
Коэффициент диаметра червяка - q
Расчетная толщина витка – s1
Толщина по хорде витка - 
Делительная толщина по хорде витка - 
Передаточное число - u
Коэффициент смещения червячного колеса - x
Число заходов червяка – z1
Число зубьев червячного колеса – z2
Нормальный угол профиля впадины червяка - anS
Нормальный угол профиля витка - anT
Угол профиля производящей поверхности – a0
Осевой угол профиля витка - ax
Угол профиля эвольвентного червяка - an
Угол подъема линии витка - γ
Делительный угол подъема линии витка - γ
Угол подъема линии вершин угла - γa
Основной угол подъема линии витка червяка - γb
Начальный угол подъема линии витка - γw
Радиус кривизны переходной кривой червяка - p

Рис. 64. Червячная передача:
а — схема; б — осевое сечение архимедова червяка; в - осевое сечение червяка с вогнутыми боковыми поверхностями
Основные параметры. Схема и основные элементы червячной передачи показаны на рис. 64.
Модули m цилиндрических червячных передач в мм, определяемые в осевом сечении червяка, приведены ниже:
1-й ряд: 1,0; 1,25; 1,6; 2,0; 2,5; 3,15; 4,0; 5,0; 6,3; 8,0; 10,0; 12,5; 16,0; 20,0; 25,0;
2-й ряд: 1,5; 3,0; 3,5; 6,0; 7,0; 12,0;
3-й ряд: 1,125; 1,375; 1,75; 2,25; 2,75; 4,5; 9,0; 11,0; 14,0; 18,0; 22.0.
Примечание. 1-й ряд следует предпочитать 2-му.
Модули 3-го ряда допускается применять в технически обоснованных случаях для нормализованных редукторов общемашиностроительного применения.
ГОСТ 19672 предусматривает m < 1мм.
Коэффициенты диаметра червяка q.
1-й ряд: 6,3; 8; 10; 12,5; 16,0; 20,0; 25,0;
2-й ряд: 7,1; 9; 11,2; 14; 18; 22,4.
1-й ряд следует предпочитать 2-му.
По ГОСТ 19672—74 допускается применять q = 7,5 и q = 12,0. Коэффициент диаметра червяка q = 25,0 по возможности не применять.
Червяки.ГОСТ 19036—94 распространяется на ортогональные цилиндрические червячные передачи с червяками: архимедовым (ZA), эвольвентным (ZL), с прямолинейным профилем витка (ZN), образованными конусом (ZK) и тором (ZT) и устанавливает исходный червяк, исходный производящий червяк (фрезу) и радиальные зазоры червячной передачи с модулем от 1 до 25мм.
Стандарт не распространяется на делительные червячные передачи и другие передачи, к которым предъявляются специальные требования.
Форма и размеры витков исходного червяка и исходного производящего червяка и радиальные зазоры червячной передачи в осевом сечении этих червяков, содержащем межосевую линию червячной передачи, должны соответствовать указанным на рис 65.
Значения коэффициентов параметров витков исходного червяка и исходного производящего червяка приведены в табл. 126а и 126б.

Рис. 65. Контуры витков исходных червяков и исходных производящих червяков:
а - ZA, б – ZL; ZN; ZK; в - ZT
Обозначения контуров витков:
Сплошная линия — совпадающих исходного червяка и исходного производящего червяка;
Штриховая — исходного червяка;
Штрих пунктирная — исходного производящего червяка.
Значения углов профиля:
- в осевом сечении витка червяка ZA — ах;
- в нормальном сечении зуба рейки, сопряженной с червяком ZL — аn;
- в нормальном сечении витка червяка ZN1 — anT;
- в нормальном сечении впадины червяка ZN2 — аns;
- в нормальном сечении винтовой линии витка червяка ZN3 — аn;
- производящего конуса для червяков ZK1, ZK2, ZK3 и ZK4 должны соответствовать 20°;
- в нормальном сечении витка червяка ZT1 и ZT2 должны соответствовать 22°.
Примечание. Допускается в технически обоснованных случаях (например, для локализации пятна контакта) корректировать угол профиля исходного производящего червяка.
Значения радиуса скруглениярk10 кромки производящей поверхности, образующей боковые поверхности витков исходного производящего червяка, должны находиться в пределах от 0,2m до 0,3m.
126а. Значения коэффициентов параметров витков исходного червяка
Коэффициенты | Обозначение | Числовое значение или формула для червяков | ||
ZA, ZK, ZN | ZL | ZT | ||
Высоты витка | h1* | 2,0+с1* | ||
Высоты головки витка | ha1* | 1,0 | ||
Высоты ножки витка | hf1* | 1,0 +с1* | ||
Граничной высоты витка, не менее | hl1* | 2,0 | ||
Глубины захода | hw* | 2,0 | ||
Радиального зазора у поверхности впадин: червяка | c1* | 0,2 | ||
червячного колеса | c2* | 0,2 | ||
Расчетной толщины витка | s* | 0,5π | 0,45π | 0,35π |
Радиуса кривизны переходнойкривой | Pf1* | 0,3 | 0,2 | |
Радиуса образующей дуги окружности шлифовального круга | Р0* | — | 4,8-6,0 | |
Примечания:
1. Допускается изменять коэффициент расчетной толщины для червяков: ZA, ZL, ZK и ZN в пределах от 0,4 до 0,5π; ZT в пределах от 0,3π до 0,38π.
2. В обоснованных случаях допускается изменение коэффициента радиального зазора у поверхности впадин червячного колеса в пределах от 0,15 до 0,3.
3. Для эвольвентных червяков и червяков с делительным углом подъема у не менее 26,565° принимать c1 = 0,2cosγ.
4. Обязательное утонение расчетной толщины витка исходного червяка Δs по сравнению с расчетной толщиной витка исходного производящего червяка не регламентируется.
5. Кромка головки витка исходного червяка притупляется радиусом рk = 0,05m или фаской соответствующего размера.
6. Значение коэффициента радиуса образующей дуги окружности шлифовального кругаP0* принимается в пределах от 4,8 до 6,0 из условия отсутствия подрезания зуба червячного колеса.
126б. Значения коэффициентов параметров витков исходного производящего червяка
Коэффициенты | Обозначение | Числовое значение или формула для червяков | ||
ZA, ZK, ZN | ZL | ZT | ||
Диаметра исходного производящего червяка | q0* | q(1...1,5) | q(1…1,2) | |
Модуля исходного производящегочервяка | m0* | m0* = cosγ/cosγ0 где γ, γ0 - делительные углы подъема исходного червяка и исходного производящего червяка | ||
Высоты витка, не менее | h10* | 2,0+с1* +с2* | ||
Высоты головки витка, не менее | hа10* | 1,0 +с2* | ||
Высоты ножки витка, не менее | hf10* | 1,0 +с1* | ||
Граничной высоты ножки витка, не менее | hl10* | 2,0 +с2* | ||
Высоты головки до начала закругления, не менее | hak10* | 1,0 | ||
Расчетной толщины витка, не менее | s0* | s*cos(γ - γ0) | ||
Радиуса образующей дуги окружности шлифовального куга, не более | p10* | — | p10* - 0,2 | |
Примечания:
1. Большее значение коэффициента q0* рекомендуется принимать при межосевых расстояниях аw не более 80мм, модулях m не более 2мм, делительном угле подъема у исходного червяка не более 5°.
2. Значения всех параметров исходного производящего червяка получают умножением соответствующего коэффициента на модуль m исходного червяка.
3. Значения делительного угла подъема исходного производящего червяка рассчитывают по формуле
tgγ0 = z10/q0,
где z10 — число витков исходного производящего червяка
Передачи с однозаходным червяком вызывают большие потери на трение. Червяки с z1 = 1 применяют при кратковременных периодах работы в кинематических (отсчетных) передачах, так как однозаходные червяки точней многозаходных.
Направление витков следует назначать правое; левое направление витков применяют лишь в особых случаях.
Червячные колеса. Число зубьев червячного колеса z2 выбирают в зависимости от передаточного отношения и числа заходов червяка.
В силовых передачах надо стремиться к такой заходности червяка, чтобы z2 = 30…70. При z2, близком к нижнему пределу, несколько уменьшаются габариты передачи; но одновременно снижается ее КПД, так как приходится ставить червяки с малым числом заходов z1, поэтому z2 = 30…50 рекомендуется лишь при сравнительно небольших передаваемых мощностях. При больших мощностях надо стремиться повышать КПД, увеличивая z2 до 60…70.
Применять z2 > 80 не рекомендуется, так как в этом случае обычно решающей становится прочность зубьев на изгиб (особенно для бронз с высокой износоустойчивостью). Брать z2 < 28 не следует во избежание подреза зуба; при меньшем числе зубьев применяют смещение исходного контура (инструмента), как у цилиндрических зубчатых колес.
При нарезании червячных колес летучими резцами число зубьев колеса по возможности не должно содержать общих множителей с числом заходов червяка z1. Это достигается при сохранении стандартных параметров червяка (z1, m и q) заменой z2=32 на z2=31 или 33; z2=36 на z2=35 или 37 и т.п.
Для этих передач, чтобы не выходить за пределы допустимых отклонений от u и не иметь х >1, потребуется применять многозаходные летучие резцы (по одному на заход) или z1 раз сместить оправку с летучим резцом в направлении ее оси на величину осевого шага или же z1 раз повернуть заготовку колеса на один угловой шаг.
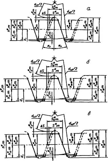
Число зубьев z2 стандартами не регламентируется. Их значения, приведенные в табл. 127, подобраны для нарезания колес червячными фрезами с учетом достижения по возможности одинаковых значений передаточных чисел u для соседних межосевых расстояний.
В табл. 127 приведены сочетания основных параметров аu, u, m, q, z1, а также числа зубьев червячных колес z2, соответствующие принятым основным параметрам, коэффициенты смещения червяка х и фактические передаточные числа. Условный угол обхвата 2δ (рис. 66) определяют по формуле
sinδ = b2/(da1-0,5m)

Рис. 66. Угол обхвата:
а и б — варианты конструкций венца в зависимости от угла 2δ
Угол обхвата 2δ может быть принят для силовых передач 2δ = 90…120°; для неотсчетных передач 2δ = 60…90°; для несиловых отсчетных передач 2δ = 45…60°.
При проектировании червячных цилиндрических передач следует пользоваться данными ГОСТ 2144-76 (в редакции .). ГОСТ 2144-76 распространяется на ортогональные цилиндрические червячные передачи для редукторов, в том числе и комбинированных (червячно-цилиндрических и др.), выполняемых в виде самостоятельных агрегатов, и устанавливает:
межосевые расстояния aw;
номинальные значения передаточных чисел uном.
Стандарт не распространяется на червячные цилиндрические передачи для редукторов специального назначения и специальной конструкции (изменяющийся шаг червяка, гарантированное обеспечение самоторможения и др.).
Межосевые расстояния aw должны соответствовать значениям:
1-й ряд: 40; 50; 63; 80; 100; 125; 160; 200; 250; 315; 400мм.
2-й ряд: 45; 56; 71; 90: 112; 140; 180; 224; 280; 355; 450; 500мм.
Примечание. Значения ряда 1 следует предпочитать значениям ряда 2.
127. Сочетание основных параметров ортогональных червячных передач
Передаточные числа uном | Параметры | Межосевое расстояние aw, мм | |||||||||||||||||
40 | 50 | 63 | 80 | 100 | 125 | ||||||||||||||
8; 16; 31,5. | z2 : z1 | 32:4 | 32:2 | 32:1 | 32:4 | 32:2 | 32:1 | 32:4 | 32:2 | 32:1 | 32:4 | 32:2 | 32:1 | 32:4 | 32:2 | 32:1 | 32:4 | 32:2 | 32:1 |
m | 2,00 | 2,50 | 3,15 | 4,00 | 5,00 | 6,30 | |||||||||||||
q | 8 | 8 | 8 | 8 | 8 | 8 | |||||||||||||
x | 0 | 0 | 0 | 0 | 0 | -0,16 | |||||||||||||
u | 8 | 16 | 32 | 8 | 16 | 32 | 8 | 16 | 32 | 8 | 16 | 32 | 8 | 16 | 32 | 8 | 16 | 32 | |
9; 18; 35,5 | z2 : z1 | 36:4 | 36:2 | 36:1 | 36:4 | 36:2 | 36:1 | 36:4 | 36:2 | 36:1 | 36:4 | 36:2 | 36:1 | 36:4 | 36:2 | 36:1 | 36:4 | 36:2 | 36:1 |
m | 1,60 | 2,00 | 2,50 | 3,15 | 4,00 | 5,00 | |||||||||||||
q | 12,5 | 12,5 | 12,5 | 16,0 | 12,5 | 12,5 | |||||||||||||
x | +0,750 | +0,750 | +0,950 | -0,603 | +0,750 | +0,750 | |||||||||||||
u | 9 | 18 | 36 | 9 | 18 | 36 | 9 | 18 | 36 | 9 | 18 | 36 | 9 | 18 | 36 | 9 | 18 | 36 | |
10; 20; 40 | z2 : z1 | 40:4 | 40:2 | 40:1 | 40:4 | 40:2 | 40:1 | 40:4 | 40:2 | 40:1 | 40:4 | 40:2 | 40:1 | 40:4 | 40:2 | 40:1 | 40:4 | 40:2 | 40:1 |
m | 1,60 | 2,00 | 2,5 | 3,15 | 4,00 | 5,00 | |||||||||||||
q | 10 | 10 | 10 | 10 | 10 | 10 | |||||||||||||
x | 0 | 0 | +0,2 | +0,4 | 0 | 0 | |||||||||||||
u | 10 | 20 | 40 | 10 | 20 | 40 | 10 | 20 | 40 | 10 | 20 | 40 | 10 | 20 | 40 | 10 | 20 | 40 | |
11,2; 22,4; 45 | z2 : z1 | 46:4 | 46:2 | 46:1 | 46:4 | 46:2 | 46:1 | 46:4 | 46:2 | 46:1 | 46:4 | 46:2 | 46:1 | 46:4 | 46:2 | 46:1 | 46:4 | 46:2 | 46:1 |
m | 4,25 | 1,60 | 2,00 | 2,50 | 3,15 | 4,00 | |||||||||||||
q | 16 | 16 | 16 | 16 | 16 | 16 | |||||||||||||
x | + 1,00 | +0,25 | +0,50 | + 1,00 | +0,75 | + 0,25 | |||||||||||||
u | 11,5 | 23 | 46,0 | 11,5 | 23 | 46,0 | 11,5 | 23 | 46,0 | 11,5 | 23 | 46,0 | 11,5 | 23 | 46,0 | 11.5 | 23 | 46,0 | |
12,5; 25; 50 | z2 : z1 | 50:4 | 50:2 | 50:1 | 50:4 | 50:2 | 50:1 | 50:4 | 50:2 | 50:1 | 50:4 | 50:2 | 50:1 | 50:4 ] 1 | 50:2 | | 50:1 | 50:4 1 | 50:2 1 | 50:1 |
m | 1,25 | 1,60 | 2,00 | 2,50 | 3,15 | 4,00 | |||||||||||||
q | 12,5 | 12,5 | 12,5 | 12,5 | 12,5 | 12,5 | |||||||||||||
x | +0,750 | 0 | +0,250 | +0,750 | +0.496 | 0 | |||||||||||||
u | 12,5 | 25 | 50,0 | 12,5 | 25 | 50,0 | 12,5 | 25 | 50,0 | 12,5 | 25 | 50,0 | 12,5 | 25 | 50,0 | 12,5 | 25 | 50,0 | |
14; 28; 56 | z2 : z1 | 58:4 | 58:2 | 58:1 | 58:4 | 58:2 | 58:1 | 58:4 | 58:2 | 58:1 | 58:4 | 58:2 | 58:1 | 58:4 | 58:2 | 58:1 | 58:4 | 58:2 | 58:1 |
m | 1,00 | 1,25 | 1,60 | 2,00 | 2,50 | 3,15 | |||||||||||||
q | 20 | 20 | 20 | 20 | 20 | 20 | |||||||||||||
x | + 1,000 | + 1,000 | +0,375 | + 1,000 | + 1,000 | +0,682 | |||||||||||||
u | 14,5 | 29,0 | 58,0 | 14,5 | 29,0 | 58,0 | 14,5 | 29,0 | 58,0 | 14,5 | 29,0 | 58,0 | 14,5 | 29,0 | 58,0 | 14,5 | 29,0 | 58,0 | |
63 | z2 : z1 | 63:1 | 63:1 | 63:1 | 63:1 | 63:1 | 63:1 | ||||||||||||
m | 1,00 | 1,25 | 1,60 | 2,50 | 2,50 | 3,15 | |||||||||||||
q | 16 | 16 | 16 | 16 | 16 | 16 | |||||||||||||
x | 0,500 | 0,500 | -0,125 | +0,500 | +0,500 | +0,180 | |||||||||||||
u | 63 | 63 | 63 | 63 | 63 | 63 | |||||||||||||
80 | z2 : z1 | — | — | — | 80:1 | 80:1 | 80:1 | ||||||||||||
m | 1,6 | 2,0 | 2,5 | ||||||||||||||||
q | 20 | 20 | 20 | ||||||||||||||||
x | 0 | 0 | 0 | ||||||||||||||||
u | 80 | 80 | 80 | ||||||||||||||||
Продолжение табл. 127
Передаточные числа uном | Параметры | Межосевое расстояние aw, мм | |||||||||||||||||
140 | 160 | 180 | 200 | 225 | 250 | ||||||||||||||
8; 16; 31,5 | z2 : z1 | 32:4 | 32:2 | 32:1 | 32:4 | 32:2 | 32: 1 | 32:4 | 32:2 | 32:1 | 32:4 | 32:2 | 32:1 | 32:4 | 32:2 | 32: 1 | 32:4 | 32:2 | 32:1 |
m | 6,3 | 8,0 | 8,0 | 10,0 | 10,0 | 12,5 | |||||||||||||
q | 12,5 | 8,0 | 12,5 | 8,0 | 12,5 | 8,0 | |||||||||||||
x | -0,03 | 0 | +0,25 | 0 | +0,25 | 0 | |||||||||||||
u | 8 | 16 | 32 | 8 | 16 | 32 | 8 | 16 | 32 | 8 | 16 | 32 | 8 | 16 | 32 | 8 | 16 | 32 | |
9, 18; 35,5 | z2 : z1 | 36:4 | 36:2 | 36:1 | 36:4 | 36:2 | 36:1 | 36:4 | 36:2 | 36:1 | 36:4 | 36:2 | 36:1 | 36:4 | 36:2 | 36:1 | 36:4 | 36:2 | 36:1 |
m | 6,3 | 6,3 | 8,0 | 8,0 | 10,0 | 10,0 | |||||||||||||
q | 8,0 | 14,0 | 8,0 | 12,5 | 8,0 | 12,5 | |||||||||||||
x | -0.222 | +0,397 | +0,500 | +0,750 | +0,500 | +0,750 | |||||||||||||
u | 9 | 18 | 36 | 9 | 18 | 36 | 9 | 18 | 36 | 9 | 18 | 36 | 9 | 18 | 36 | 9 | 18 | 36 | |
10; 20; 40 | z2 : z1 | 40:4 | 40:2 | 40:1 | 40:4 | 40:2 | 40:1 | 40:4 | 40:2 | 40:1 | 40:4 | 40;2 | 40:1 | 40:4 | 40:2 | 40:1 | 40:4 | 40:2 | 40:1 |
m | 5,0 | 6,3 | 6,3 | 8,0 | 8,00 | 10,0 | |||||||||||||
q | 16 | 10 | 16 | 10 | 16 | 10 | |||||||||||||
x | 0 | +0,397 | +0,571 | 0 | +0,125 | 0 | |||||||||||||
u | 10 | 20 | 40 | 10 | 20 | 40 | 10 | 20 | 40 | 10 20 | 40 | 10 | 20 | 40 | 10 | 20 | 40 | ||
11,2; 22,4; 45 | z2 : z1 | 46:4 | 46.2 | 46:1 | 46:4 | 46:2 | 46.1 | 46:4 | 46:2 | 46:1 | 46:4 | 46:2 | 46:1 | 46:4 | 46:2 | 46:1 | 46:4 | 46:2 | 46:1 |
m | 5,0 | 5,0 | 6,3 | 6,3 | 8,0 | 8,0 | |||||||||||||
q | 16 | 16 | 10 | 16 | 10 | 16 | |||||||||||||
x | 0 | + 1,000 | +0,571 | +0,750 | +0,125 | +0,250 | |||||||||||||
u | 11,5 | 23,0 | 46,0 | 11,5 | 23,0 | 46,0 | 11,5 | 23,0 | 46,0 | 11,5 | 23,0 | 46,0 | 11,5 | 23 | 46,0 | 11,5 | 23,0 | 46,0 | |
12.5; 25; 50 | z2 : z1 | 50.4 | 50:2 | 1 50:1 | 50:4 | 50:2 | 50:1 | 50:4 | 50:2 | 50:1 | 50.4 | 50:2 | 50:1 | 50:4 | 50:2 | 50:1 | 50:4 1 | 50:2 | 50:1 |
m | 4,0 | 5,0 | 5,0 | 6,3 | 6,3 | 8,0 | |||||||||||||
q | 20,0 | 12,5 | 20,0 | 12,5 | 20,0 | 12,5 | |||||||||||||
x | 0 | +0,750 | +0,100 | +0,496 | +0,710 | 0 | |||||||||||||
u | 12,5 | 25,0 | 50,0 | 12,5 | 25,0 | 50,0 | 12,5 | 25,0 | 50,0 | 12,5 | 25,0 | 50,0 | 12,5 | 25,0 | 50,0 | 12,5 | 25,0 | 50,0 | |
14; 28; 56 | z2 : z1 | 58:4 | 58:2 | 58:1 | 58:4 | 58:2 | 58:1 | 58:4 | 58:2 | 58:1 | 58:4 | 58:2 | 58:1 | 58:4 | 58:2 | 58:1 | 58:4 | 58:2 | 58:1 |
m | 4,0 | 4,0 | 5,0 | 5,0 | 6,3 | 6,3 | |||||||||||||
q | 12,5 | 20,0 | 12,5 | 20 | 12,5 | 20,0 | |||||||||||||
x | -0,250 | + 1,00 | +0,750 | + 1,000 | +0,464 | +0,682 | |||||||||||||
u | 14,5 | 29,0 | 58,0 | 14,5 | 29,0 | 58,0 | 14,5 | 29,0 | 58,0 | 14,5 | 29,0 | 58,0 | 14,5 | 29,0 | 58,0 | 14,5 | 29,0 | 58,0 | |
63 | z2 : z1 | — | 63:1 | 63:1 | 63:1 | 63:1 | 63:1 | ||||||||||||
m | 4,0 | 5,0 | 5,0 | 6,3 | 6,3 | ||||||||||||||
q | 16,0 | 12,5 | 16,0 | 12,5 | 16,0 | ||||||||||||||
x | +0,500 | -0,750 | +0,500 | -1,000 | +0,182 | ||||||||||||||
u | 63 | 63 | 63 | 63 | 63 | ||||||||||||||
71 | z2 : z1 | 73:1 | — | 73:1 | — | 73:1 | — | ||||||||||||
m | 3,15 | 4,00 | 5,00 | ||||||||||||||||
q | 16 | 16 | 16 | ||||||||||||||||
x | -0,56 | +0,50 | +0,50 | ||||||||||||||||
u | 73 | 73 | 73 | ||||||||||||||||
80 | z2 : z1 | — | 80:1 | — | 80:1 | — | 80:1 | ||||||||||||
m | 3,15 | 4,00 | 5,00 | ||||||||||||||||
q | 20 | 20 | 20 | ||||||||||||||||
x | +0,794 | 0 | 0 | ||||||||||||||||
u | 80 | 80 | 80 | ||||||||||||||||
Продолжение табл. 127
Передаточные числа uном | Параметры | Межосевое расстояние aw, мм | |||||||||||||||||
280 | 315 | 355 | 400 | 450 | 500 | ||||||||||||||
8; 16; 31,5 | z2 : z1 | 32:4 | 32:2 | 32:1 | 32:4 | 32:2 | 32:1 | 32:4 | 32:2 | 32:1 | 32:4 | 32:2 | 32:1 | 32:4 | 32:2 | 32:1 | 32:4 | 32:2 | 32:1 |
m | 12,5 | 16,0 | 16,0 | 20,0 |
|
| |||||||||||||
q | 12,5 | 8,0 | 12,5 | 8,0 | — | — | |||||||||||||
x | +0,150 | -0,300 | -0,063 | 0 |
|
| |||||||||||||
u | 8 | 16 | 32 | 8 | 16 | 32 | 8 | 16 | 32 | 8 | 16 | 32 |
|
|
|
|
|
| |
9; 18; 35,5 | z2 : z1 | 36:4 | 36:2 | 36:1 | 36:4 | 36:2 | 36:1 | 36:4 | 36:2 | 36:1 | 36:4 | 36:2 | 36:1 | 36:4 | 36:2 | 36:1 | 36:4 | 36:2 | 36:1 |
m | 12,5 | 12,5 | 16,0 | 16,0 | 20,0 | — | |||||||||||||
q | 8,0 | 12,5 | 8,0 | 12,5 | 8,0 | ||||||||||||||
x | +0,400 | +0,950 | +0,187 | +0,750 | +0,500 | ||||||||||||||
u | 9 | 18 | 36 | 9 | 18 | 36 | 9 | 18 | 36 | 9 | 18 | 36 | 9 | 18 | 36 | ||||
10; 20; 40 | z2 : z1 | 40:4 | 40:2 | 40:1 | 40:4 | 40:2 | 40:1 | 40:4 | 40:2 | 40:1 | 40:4 | 40:2 | 40:1 | 40:4 | 40:2 | 40:1 | 40:4 | 40:2 | 40:1 |
m | 10,0 | 12,5 | 12,5 | 16,0 | 16,0 | 20,0 | |||||||||||||
q | 16 | 10 | 16 | 10 | 16 | 10 | |||||||||||||
x | 0 | +0,200 | +0,400 | 0 | +0,125 | 0 | |||||||||||||
u | 10 | 20 | 40 | 10 | 20 | 40 | 10 | 20 | 40 | 10 | 20 | 40 | 10 | 20 | 40 | 10 | 20 | 40 | |
11,2; 22,4; 45 | z2 : z1 | 46:4 | 46:2 | 46:1 | 46:4 | 46:2 | 46:1 | 46:4 | 46:2 | 46:1 | 46:4 | 46:2 | 46:1 | 46:4 | 46:2 | 46:1 | 46:4 | 46:2 | 46:1 |
m | 10,0 | 10,0 | 12,5 | 12,5 | 16,0 | 16,0 | |||||||||||||
q | 10 | 16 | 10 | 16 | 10 | 16 | |||||||||||||
x | 0 | +0,500 | +0,400 | + 1,000 | +0,125 | +0,250 | |||||||||||||
u | 11,5 | 23,0 | 46,0 | 11,5 | 23,0 | 46,0 | 11,5 | 23,0 | 46,0 | 11,5 | 23,0 | 46,0 | 11,5 | 23 | 46,0 | 11,5 | 23,0 | 46,0 | |
12.5; 25; 50 | z2 : z1 | 50:4 | 50;2 | 1 50:1 | 50:4 | 50.2 | 50:1 | 50:4 | 50:2 | 50:1 | 50:4 | 50:2 | 50:1 | 50:4 | 50:2 | 50:1 | 50:4 | 50:2 | 50:1 |
m | 8,0 | 10,0 | 10,0 | 12,5 | 12,5 | 16,0 | |||||||||||||
q | 20,0 | 12,5 | 20,0 | 12,5 | 20,0 | 12,5 | |||||||||||||
x | 0 | +0,25 | +0,50 | +0,75 | + 1,00 | 0 | |||||||||||||
u | 12,5 | 25,0 | 50,0 | 12,5 | 25,0 | 50,0 | 12,5 | 25,0 | 50,0 | 12,5 | 25,0 | 50,0 | 12,5 | 25,0 | 50,0 | 12,5 | 25,0 | 50,0 | |
11; 28; 56 | z2 : z1 | 58:4 | 58:2 | 58:1 | 58:4 | 58:2 | 58.1 | 58:4 | 58:2 | 58:1 | 58:4 | 58:2 | 58:1 | 58:4 | 58:2 | 58:1 | 58:4 | 58:2 | 58:1 |
m | 8,0 | 8.0 | 10,0 | 10,0 | 12,5 | 12,5 | |||||||||||||
q | 12,5 | 20,0 | 12,5 | 20,0 | 12,5 | 20,0 | |||||||||||||
x | -0,250 | +0,375 | +0,250 | +1,000 | +0,750 | +1,000 | |||||||||||||
u | 14,5 | 29,0 | 58,0 | 14,5 | 29,0 | 58,0 | 14,5 | 29,0 | 58,0 | N,5 | 29,0 | 58,0 | 14,5 | 29,0 | 58,0 | 14,5 | 29,0 | 58,0 | |
63 | z2 : z1 | — | 63:1 | — | 63:1 | 61.1 | 63:1 | ||||||||||||
m | 8.0 | 10,0 | 12,5 | 12,5 | |||||||||||||||
q | 16,0 | 16,0 | 12.5 | 16,0 | |||||||||||||||
x | -0,125 | +0,500 | -0,750 | +0,500 | |||||||||||||||
u | 63 | 63 | 61 | 63 | |||||||||||||||
71 | z2 : z1 | 73:1 | — | 73:1 | — | 73:1 | — | ||||||||||||
m | 6.3 | 8,00 | 10,0 | ||||||||||||||||
q | 16 | 16 | 16 | ||||||||||||||||
x | -0,056 | -0,125 | +0,500 | ||||||||||||||||
u | 73 | 73 | 73 | ||||||||||||||||
80 | z2 : z1 | — | 80:1 | — | 80:1 | — | 80:1 | ||||||||||||
m | 6,3 | 8,0 | 10,0 | ||||||||||||||||
q | 20 | 20 | 20 | ||||||||||||||||
x | 0 | 0 | 0 | ||||||||||||||||
u | 80 | 80 | 80 | ||||||||||||||||
Номинальные передаточные числа uном должны соответствовать значениям:
1-й ряд: 8; 10; 12,5; 16; 20; 25; 31,5; 40; 50; 63; 80; 100.
2-й ряд: 9; 11,2; 14; 18; 22,4; 28; 35,5; 45; 56; 71; 90.
Примечания: 1. Значения ряда 1 следует предпочитать значениям ряда 2.
2. Передаточные числа 90 и 100 применять не рекомендуется.
Фактические значения передаточных чисел не должны отличаться от номинальных более чем на 4%.
Примечание. Для нормализованных редукторов общемашиностроительного применения допускается в технически обоснованных случаях отклонение фактических значений передаточных чисел номинальных до 6,3%.
Червяки передач, за исключением чаев, обусловленных кинематикой должны иметь линию витка правого правления.